Gaslight - ART REVIEW; What Photographers Saw After Sunset


Gaslight : Photo Gallery

GASLIGHT (1944 film) - Wikipedia, the free encyclopedia
GASLIGHT (1944 film) - Wikipedia, the free encyclopedia

GASLIGHT (1944 film) - Wikipedia, the free encyclopedia

GASLIGHT (1944 film) - Wikipedia, the free encyclopedia

Gaslight (1944 film)

The GASLIGHT of our Times | horsepigcow
The GASLIGHT of our Times | horsepigcow

The GASLIGHT of our Times | horsepigcow

The GASLIGHT of our Times | horsepigcow

The Gaslight of our Times

GASLIGHTing" | bigWOWO
GASLIGHTing" | bigWOWO

GASLIGHTing" | bigWOWO

GASLIGHTing" | bigWOWO

"Gaslighting"

Antique Victorian hanging etched glass gas light fixture c1880
Antique Victorian hanging etched glass gas light fixture c1880

Antique Victorian hanging etched glass gas light fixture c1880

Antique Victorian hanging etched glass gas light fixture c1880

gas light fixture c1880

GASLIGHT – movie night. | dollparts.
GASLIGHT – movie night. | dollparts.

GASLIGHT – movie night. | dollparts.

GASLIGHT – movie night. | dollparts.

Gaslight was also Angela

On GASLIGHTing « Adios, Mofo: True Tales of my Ex-
On GASLIGHTing « Adios, Mofo: True Tales of my Ex-

On GASLIGHTing « Adios, Mofo: True Tales of my Ex-

On GASLIGHTing « Adios, Mofo: True Tales of my Ex-

Gaslight, starring Ingrid

GASLIGHT To Be Lit Again
GASLIGHT To Be Lit Again

GASLIGHT To Be Lit Again

GASLIGHT To Be Lit Again

Ingrid Bergman in Gaslight

Jan. 28, 1807: Flickering GASLIGHT Illuminates Pall Mall
Jan. 28, 1807: Flickering GASLIGHT Illuminates Pall Mall

Jan. 28, 1807: Flickering GASLIGHT Illuminates Pall Mall

Jan. 28, 1807: Flickering GASLIGHT Illuminates Pall Mall

The Gaslight was developed in

GASLIGHT « Walk in the dust
GASLIGHT « Walk in the dust

GASLIGHT « Walk in the dust

GASLIGHT « Walk in the dust

Gaslight

CLASSIC MOVIES: GASLIGHT (
CLASSIC MOVIES: GASLIGHT (

CLASSIC MOVIES: GASLIGHT (

CLASSIC MOVIES: GASLIGHT (

Gaslight (1944)

Best Movies of 2011. Movies GASLIGHT Top movies 2011. Here we have ...
Best Movies of 2011. Movies GASLIGHT Top movies 2011. Here we have ...

Best Movies of 2011. Movies GASLIGHT Top movies 2011. Here we have ...

Best Movies of 2011. Movies GASLIGHT Top movies 2011. Here we have ...

Life at the Movies | Gaslight

Cincinnati B&B, Cincinnati Bed and Breakfast, Cincinnati Bed ...
Cincinnati B&B, Cincinnati Bed and Breakfast, Cincinnati Bed ...

Cincinnati B&B, Cincinnati Bed and Breakfast, Cincinnati Bed ...

Cincinnati B&B, Cincinnati Bed and Breakfast, Cincinnati Bed ...

Gaslight B&B Clifton, Ohio,

Improved Gas Light Buoy
Improved Gas Light Buoy

Improved Gas Light Buoy

Improved Gas Light Buoy

GAS LIGHT BUOY.

Gas Light, Beacon Hill, Boston, Massachusetts pictures, free use ...
Gas Light, Beacon Hill, Boston, Massachusetts pictures, free use ...

Gas Light, Beacon Hill, Boston, Massachusetts pictures, free use ...

Gas Light, Beacon Hill, Boston, Massachusetts pictures, free use ...

Picture of Gas Light,

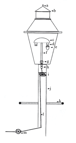
Gas Light Troubleshooting: Gas Light Parts & Repair : Gas Light Guys
Gas Light Troubleshooting: Gas Light Parts & Repair : Gas Light Guys

Gas Light Troubleshooting: Gas Light Parts & Repair : Gas Light Guys

Gas Light Troubleshooting: Gas Light Parts & Repair : Gas Light Guys

Gas Light Diagram

GASLIGHT 1944 | FilmClassics
GASLIGHT 1944 | FilmClassics

GASLIGHT 1944 | FilmClassics

GASLIGHT 1944 | FilmClassics

Gaslight 1944

GASLIGHT - Filmcritic.com Movie Review
GASLIGHT - Filmcritic.com Movie Review

GASLIGHT - Filmcritic.com Movie Review

GASLIGHT - Filmcritic.com Movie Review

Picture of GASLIGHT
Picture of GASLIGHT

Picture of GASLIGHT

Picture of GASLIGHT

Un-kvlt Site: GASLIGHT [George Cukor]
Un-kvlt Site: GASLIGHT [George Cukor]

Un-kvlt Site: GASLIGHT [George Cukor]

Un-kvlt Site: GASLIGHT [George Cukor]

GASLIGHT
GASLIGHT

GASLIGHT

GASLIGHT

GASLIGHT
GASLIGHT

GASLIGHT

GASLIGHT

Image: GASLIGHT Lounge
Image: GASLIGHT Lounge

Image: GASLIGHT Lounge

Image: GASLIGHT Lounge

GASLIGHT – Best Pictures of 1940 (#9) | Movies over Matter
GASLIGHT – Best Pictures of 1940 (#9) | Movies over Matter

GASLIGHT – Best Pictures of 1940 (#9) | Movies over Matter

GASLIGHT – Best Pictures of 1940 (#9) | Movies over Matter

Cinema Styles: The Smell of Death: GASLIGHT Through the Years
Cinema Styles: The Smell of Death: GASLIGHT Through the Years

Cinema Styles: The Smell of Death: GASLIGHT Through the Years

Cinema Styles: The Smell of Death: GASLIGHT Through the Years

The GASLIGHT Anthem plays The Music of The Who at Carnegie Hall
The GASLIGHT Anthem plays The Music of The Who at Carnegie Hall

The GASLIGHT Anthem plays The Music of The Who at Carnegie Hall

The GASLIGHT Anthem plays The Music of The Who at Carnegie Hall

Picture of GASLIGHT
Picture of GASLIGHT

Picture of GASLIGHT

Picture of GASLIGHT

GASLIGHT / Angel Street / A Strange Case of Murder (1940) ****
GASLIGHT / Angel Street / A Strange Case of Murder (1940) ****

GASLIGHT / Angel Street / A Strange Case of Murder (1940) ****

GASLIGHT / Angel Street / A Strange Case of Murder (1940) ****

Un-kvlt Site: GASLIGHT [George Cukor]
Un-kvlt Site: GASLIGHT [George Cukor]

Un-kvlt Site: GASLIGHT [George Cukor]

Un-kvlt Site: GASLIGHT [George Cukor]

Review: GASLIGHT (1944)
Review: GASLIGHT (1944)

Review: GASLIGHT (1944)

Review: GASLIGHT (1944)

GASLIGHT Grill - Kansas City Leawood
GASLIGHT Grill - Kansas City Leawood

GASLIGHT Grill - Kansas City Leawood

GASLIGHT Grill - Kansas City Leawood

GASLIGHT
GASLIGHT

GASLIGHT

GASLIGHT

Under a hail of red and white lights The GASLIGHT Anthem cantered ...
Under a hail of red and white lights The GASLIGHT Anthem cantered ...

Under a hail of red and white lights The GASLIGHT Anthem cantered ...

Under a hail of red and white lights The GASLIGHT Anthem cantered ...

GASLIGHT Antiques Sale
GASLIGHT Antiques Sale

GASLIGHT Antiques Sale

GASLIGHT Antiques Sale

Gaslight Antiques Sale

GASLIGHT Antiques Sale
GASLIGHT Antiques Sale

GASLIGHT Antiques Sale

GASLIGHT Antiques Sale

Gaslight Antiques Sale

GASLIGHT Antiques Sale
GASLIGHT Antiques Sale

GASLIGHT Antiques Sale

GASLIGHT Antiques Sale

Gaslight Antiques Sale

GASLIGHT Antiques Sale
GASLIGHT Antiques Sale

GASLIGHT Antiques Sale

GASLIGHT Antiques Sale

Gaslight Antiques Sale

GASLIGHT Antiques Sale
GASLIGHT Antiques Sale

GASLIGHT Antiques Sale

GASLIGHT Antiques Sale

Gaslight Antiques Sale

GASLIGHT Antiques Sale
GASLIGHT Antiques Sale

GASLIGHT Antiques Sale

GASLIGHT Antiques Sale

Gaslight Antiques Sale

GASLIGHT Antiques Sale
GASLIGHT Antiques Sale

GASLIGHT Antiques Sale

GASLIGHT Antiques Sale

Gaslight Antiques Sale

GASLIGHT Antiques Sale
GASLIGHT Antiques Sale

GASLIGHT Antiques Sale

GASLIGHT Antiques Sale

Gaslight Antiques Sale

GASLIGHT Antiques Sale
GASLIGHT Antiques Sale

GASLIGHT Antiques Sale

GASLIGHT Antiques Sale

Gaslight Antiques Sale

GASLIGHT Antiques Sale
GASLIGHT Antiques Sale

GASLIGHT Antiques Sale

GASLIGHT Antiques Sale

Gaslight Antiques Sale

GASLIGHT Antiques Sale
GASLIGHT Antiques Sale

GASLIGHT Antiques Sale

GASLIGHT Antiques Sale

Gaslight Antiques Sale

GASLIGHT Antiques Sale
GASLIGHT Antiques Sale

GASLIGHT Antiques Sale

GASLIGHT Antiques Sale

Gaslight Antiques Sale

GASLIGHT Antiques Sale
GASLIGHT Antiques Sale

GASLIGHT Antiques Sale

GASLIGHT Antiques Sale

Gaslight Antiques Sale

GASLIGHT Antiques Sale
GASLIGHT Antiques Sale

GASLIGHT Antiques Sale

GASLIGHT Antiques Sale

Gaslight Antiques Sale

GASLIGHT Antiques Sale
GASLIGHT Antiques Sale

GASLIGHT Antiques Sale

GASLIGHT Antiques Sale

Gaslight Antiques Sale

GASLIGHT Antiques Sale
GASLIGHT Antiques Sale

GASLIGHT Antiques Sale

GASLIGHT Antiques Sale

Gaslight Antiques Sale

Angela Lansbury month on TCM starts tonight
Angela Lansbury month on TCM starts tonight

Angela Lansbury month on TCM starts tonight

Angela Lansbury month on TCM starts tonight

I am looking forward to once again watching her American movie debut as a saucy maid in1944′s “Gaslight” tonight (Jan. 4) and her chilling portrayal of one of movie history's most manipulative mothers in 1962′s “The Manchurian Candidate” (Jan. ...

Bruce Springsteen joins The GASLIGHT Anthem for a song Friday night at ...
Bruce Springsteen joins The GASLIGHT Anthem for a song Friday night at ...

Bruce Springsteen joins The GASLIGHT Anthem for a song Friday night at ...

Bruce Springsteen joins The GASLIGHT Anthem for a song Friday night at ...

By Stan Goldstein Mark Dye/For the Star-LedgerBruce Springsteen, shown here playing at the Light of Day show in January, played a song with The Gaslight Anthem at Convention Hall in Asbury Park on Friday night. Bruce Springsteen was a special guest at ...

Life imitates 'Death'
Life imitates 'Death'

Life imitates 'Death'

Life imitates 'Death'

From left, John Sherrick as Willy Loman, Matthew Hinton (Happy), director Rich Kramer, Billy Joe Herbert (Biff) and Carol Warholak Sweeney as Willy's wife, Linda, in Gaslight Theatre Company's production of 'Death of a Salesman. ...

Mobile food truck feast expands
Mobile food truck feast expands

Mobile food truck feast expands

Mobile food truck feast expands

The food truck gathering Wednesday at Lykes Gaslight Square Park will be the third organized by city officials. The rallies are set for the first Wednesday of each month. By FROM STAFF REPORTS | Tbo.com Four new food trucks will join Tampa's next ...

Bomb squad removes object from Lawrence woman's deck
Bomb squad removes object from Lawrence woman's deck

Bomb squad removes object from Lawrence woman's deck

Bomb squad removes object from Lawrence woman's deck

Sgt. Matt Sarna, a police spokesman, said the woman who lives at Gaslight Village Mobile Home Park, 1900 W. 31st St., called police about 7:30 am Saturday when she found the object. Sarna said officers arrived and then called in the bomb squad, ...

J'town crushes Tates Creek in GASLIGHT Holiday Classic
J'town crushes Tates Creek in GASLIGHT Holiday Classic

J'town crushes Tates Creek in GASLIGHT Holiday Classic

J'town crushes Tates Creek in GASLIGHT Holiday Classic

John Sommers II/Special to the Courier-Journal/Jo Jeffersontown finished the first quarter with a flurry, kept visiting Tates Creek on its heels most of the night and rolled to an 80-48 thumping Thursday night in the finals of the Gaslight Holiday ...

WATCH: Bruce Springsteen Joins GASLIGHT Anthem for "American Slang"
WATCH: Bruce Springsteen Joins GASLIGHT Anthem for "American Slang"

WATCH: Bruce Springsteen Joins GASLIGHT Anthem for "American Slang"

WATCH: Bruce Springsteen Joins GASLIGHT Anthem for "American Slang"

By Colton Eddy (CHARTattack) December 13, 2011 11:25 am The Boss was the surprise guest at Gaslight Anthem's show at the Convention Hall in Asbury Park, New Jersey this past Friday. "We didn't forget where we came from, right? ...

GASLIGHT Village will be a circus: Committee votes to contract with Big Apple
GASLIGHT Village will be a circus: Committee votes to contract with Big Apple

GASLIGHT Village will be a circus: Committee votes to contract with Big Apple

GASLIGHT Village will be a circus: Committee votes to contract with Big Apple

LAKE GEORGE -- Drivers on Canada Street will see a new sight next July, looming where Gaslight Village used to be: a circus big top. Members of Warren County's Gaslight Village committee voted Tuesday to contract with the Big Apple Circus for two weeks ...

GASLIGHT's holiday musical fun for everyone
GASLIGHT's holiday musical fun for everyone

GASLIGHT's holiday musical fun for everyone

GASLIGHT's holiday musical fun for everyone

From left: Trixie (Sarah Vanek), Santa (David Orley), Vivian (Tarreyn Van Slyke), and Jimmy (Mike Yarema), head elevator operator, are ready to save Christmas at Pennypacker's Department Store in the Gaslight production of “Christmas in the Big Apple. ...

GASLIGHT Theatre season tickets available
GASLIGHT Theatre season tickets available

GASLIGHT Theatre season tickets available

GASLIGHT Theatre season tickets available

The Gaslight Theatre, Shiner's historic opera house, is marking its 117th birthday with the opening of the 2012 season. As one of Texas' last operating opera houses, there have been continuous productions since the resurrection of the theatre in 1975. ...

ABC's comedies are new tonight, so why don't you watch The Middle for once?
ABC's comedies are new tonight, so why don't you watch The Middle for once?

ABC's comedies are new tonight, so why don't you watch The Middle for once?

ABC's comedies are new tonight, so why don't you watch The Middle for once?

Gaslight (TCM, 8 pm): Curious why, exactly, “to Gaslight” has become a verb this TV season, out of nowhere? Well, you can check out this enjoyably Gothic psychological thriller to get something of an idea. See it before McG remakes it. ...

The best O'Hare eats for 2012
The best O'Hare eats for 2012

The best O'Hare eats for 2012

The best O'Hare eats for 2012

For those with longer layovers, the Gaslight Club harkens back to an earlier time. Complete with classic cocktails and less than fully-clothed cocktail servers, it's ideal for a mid-trip steak, though maybe less than ideal for the family. ...

Navy pilot identified as shooter in murder: suicide
Navy pilot identified as shooter in murder: suicide

Navy pilot identified as shooter in murder: suicide

Navy pilot identified as shooter in murder: suicide

The trio met Saturley at a nightclub in San Diego's trendy downtown Gaslight District, and Fraser said he did not know if the group knew Saturley before that meeting. The group, joined by a fifth man who was not identified by investigators, ...

Citilites Theatre artistic director steps down
Citilites Theatre artistic director steps down

Citilites Theatre artistic director steps down

Citilites Theatre artistic director steps down

Citilites usually performs at the Gaslight Theater. Its next production, "The Boys in the Band," is slated for spring, with auditions later this month. Hunsaker had been announced as the director. "We'd like to go ahead with our shows as planned," ...

WGL Holdings, Inc. and Washington Gas Light Company Declare Dividends
WGL Holdings, Inc. and Washington Gas Light Company Declare Dividends

WGL Holdings, Inc. and Washington Gas Light Company Declare Dividends

WGL Holdings, Inc. and Washington Gas Light Company Declare Dividends

Go to washingtongas.com for more information about Washington Gas Light Company. WGL Holdings, Inc. News Media Ruben Rodriguez, 202-624-6620 or Financial Community Douglas Bonawitz, 202-624-6129.

Redhawks hope to become road warriors in gas light basketball classic. [Sports]
Redhawks hope to become road warriors in gas light basketball classic. [Sports]

Redhawks hope to become road warriors in gas light basketball classic. [Sports]

Redhawks hope to become road warriors in gas light basketball classic. [Sports]

by Jameson Bennett There isn'ta better way for 2-9 Seneca to close out 2011 by claiming the Gas light classic trophy at Jeffersontown high school. The three day tournament runs from 27 th to the 29 th and hosts Jeffersontown, Tates Creek, ...

Gaslight : Videos

GASLIGHT
GASLIGHT

GASLIGHT

trailer Rated: 5     Duration: 114 seconds     Video type: YouTube     Hosted by: www.youtube.com on Wed, 13 Jan 2010 21:34:55 PST

The GASLIGHT Anthem "Great Expectations"
The GASLIGHT Anthem "Great Expectations"

The GASLIGHT Anthem "Great Expectations"

An epic performance video from Jersey's favorite sons, the Gaslight Anthem. If you are confused by the setting, go pick up the classic novel ... Rated: 4.9129891     Duration: 190 seconds     Video type: YouTube     Hosted by: www.youtube.com on Wed, 25 Feb 2009 10:34:17 PST

The GASLIGHT Anthem - "The 59 Sound" Side One Dummy
The GASLIGHT Anthem - "The 59 Sound" Side One Dummy

The GASLIGHT Anthem - "The 59 Sound" Side One Dummy

www.BlanktTVcom The Gaslight Anthem - "The '59 Sound"Like this video? Come see thousands more at the Net's biggest, uncensored ... Rated: 4.8754292     Duration: 211 seconds     Video type: YouTube     Hosted by: www.youtube.com on Sat, 16 Aug 2008 13:07:02 PDT

THE UGLY DUCKLINGS - "GASLIGHT" - 1967
THE UGLY DUCKLINGS - "GASLIGHT" - 1967

THE UGLY DUCKLINGS - "GASLIGHT" - 1967

No.1 HIT on CHUM1050 for The "DUCKS" during the summer of love!!!! Mike McKenna from "Luke & The Apostles" had just joined ... Rated: 4.9476743     Duration: 182 seconds     Video type: YouTube     Hosted by: www.youtube.com on Sun, 12 Aug 2007 18:28:20 PDT

Angela Lansbury talks about "GASLIGHT" (her 1st movie)
Angela Lansbury talks about "GASLIGHT" (her 1st movie)

Angela Lansbury talks about "GASLIGHT" (her 1st movie)

Angela Lansbury talks about her first movie Gaslight (1944), she co-starred in the film with Ingrid Bergman, Charles Boyer, Joseph Cotten. She' ... Rated: 4.9403973     Duration: 386 seconds     Video type: YouTube     Hosted by: www.youtube.com on Mon, 15 Oct 2007 06:23:42 PDT

The GASLIGHT Anthem "American Slang" (OFFICIAL MUSIC VIDEO)
The GASLIGHT Anthem "American Slang" (OFFICIAL MUSIC VIDEO)

The GASLIGHT Anthem "American Slang" (OFFICIAL MUSIC VIDEO)

The Gaslight Anthem's official music video for their song "American Slang." Directed by Kevin Custer. Rated: 4.9605465     Duration: 226 seconds     Video type: YouTube     Hosted by: www.youtube.com on Tue, 06 Jul 2010 14:39:20 PDT

The GASLIGHT Anthem & Bruce Springsteen - The 59 Sound (PROSHOT)
The GASLIGHT Anthem & Bruce Springsteen - The 59 Sound (PROSHOT)

The GASLIGHT Anthem & Bruce Springsteen - The 59 Sound (PROSHOT)

Filmed at Hard Rock Calling 2009, Hyde Park, London, UK. 28-6-2009 Rated: 4.9715543     Duration: 274 seconds     Video type: YouTube     Hosted by: www.youtube.com on Tue, 18 Aug 2009 03:16:15 PDT

The GASLIGHT Anthem - "Drive"
The GASLIGHT Anthem - "Drive"

The GASLIGHT Anthem - "Drive"

Directed & Edited by Kevin Slack Camera by Kevin Slack & Joe Maziarski Rated: 4.902369     Duration: 201 seconds     Video type: YouTube     Hosted by: www.youtube.com on Sun, 27 Aug 2006 00:11:29 PDT

The GASLIGHT Anthem Feat. Bruce Springsteen - American Slang - 12/09/11 - Asbury Park - WATCH IN HD!
The GASLIGHT Anthem Feat. Bruce Springsteen - American Slang - 12/09/11 - Asbury Park - WATCH IN HD!

The GASLIGHT Anthem Feat. Bruce Springsteen - American Slang - 12/09/11 - Asbury Park - WATCH IN HD!

Surprise guest appearance by Bruce Springsteen at The Gaslight Anthem holiday show on 12/09/11 at Convention Hall in Asbury Park, NJ. This was a ... Rated: 4.957983     Duration: 359 seconds     Video type: YouTube     Hosted by: www.youtube.com on Fri, 09 Dec 2011 22:19:52 PST

1913 Indian Gas Light Demo
1913 Indian Gas Light Demo

1913 Indian Gas Light Demo

This is a demonstration of how the Acetylene gas lamps work on Will's 1913 Indian Rated: 4.9333334     Duration: 477 seconds     Video type: YouTube     Hosted by: www.youtube.com on Sat, 14 Mar 2009 11:28:00 PDT

The GASLIGHT Anthem -"Old White Lincoln" Side One Dummy
The GASLIGHT Anthem -"Old White Lincoln" Side One Dummy

The GASLIGHT Anthem -"Old White Lincoln" Side One Dummy

www.BlanktTVcom The Gaslight Anthem -"Old White Lincoln"Like this video? Come see thousands more at the Net's biggest, uncensored ... Rated: 4.9325261     Duration: 205 seconds     Video type: YouTube     Hosted by: www.youtube.com on Thu, 19 Nov 2009 13:17:11 PST

GASLIGHT -- Part 1
GASLIGHT -- Part 1

GASLIGHT -- Part 1

Directed by Thorold Dickinson. 1940. Rated: 4.9354839     Duration: 600 seconds     Video type: YouTube     Hosted by: www.youtube.com on Thu, 01 Feb 2007 15:19:19 PST

GASLIGHT {46 ~Radio} 1 of 5
GASLIGHT {46 ~Radio} 1 of 5

GASLIGHT {46 ~Radio} 1 of 5

Ingrid Bergman & Charles Boyer perform in Lux Radio Theatre's production of "Gaslight" 1946. Rated: 5     Duration: 624 seconds     Video type: YouTube     Hosted by: www.youtube.com on Mon, 13 Apr 2009 11:10:24 PDT

The GASLIGHT Anthem - "Ida Called You Woody, Joe"
The GASLIGHT Anthem - "Ida Called You Woody, Joe"

The GASLIGHT Anthem - "Ida Called You Woody, Joe"

Directed by Kevin Slack Edited by Kevin Slack & Joe Maziarksi www.kevin-slack.com Rated: 4.9283018     Duration: 211 seconds     Video type: YouTube     Hosted by: www.youtube.com on Wed, 05 Sep 2007 06:33:48 PDT

The GASLIGHT Anthem - Boxer
The GASLIGHT Anthem - Boxer

The GASLIGHT Anthem - Boxer

new song of the upcoming album "American Slang" by The Gaslight Anthem. - Preorder this amazing new record and support good musicians! Rated: 4.9034481     Duration: 169 seconds     Video type: YouTube     Hosted by: www.youtube.com on Wed, 19 May 2010 06:44:13 PDT

Heres looking at you kid The GASLIGHT Anthem 59 sound
Heres looking at you kid The GASLIGHT Anthem 59 sound

Heres looking at you kid The GASLIGHT Anthem 59 sound

Please check out my cover of Mad Season - River of Deceit :) Hope you'll like it! www.youtube.com Here's track #11 "Here's ... Rated: 4.969512     Duration: 286 seconds     Video type: YouTube     Hosted by: www.youtube.com on Sat, 16 Aug 2008 00:39:27 PDT

The GASLIGHT Anthem & Bruce Springsteen - The 59 Sound
The GASLIGHT Anthem & Bruce Springsteen - The 59 Sound

The GASLIGHT Anthem & Bruce Springsteen - The 59 Sound

New Jersey's Finest. some other great new jersey bands - www.bayonnebleeders.com http . Rated: 4.9519229     Duration: 319 seconds     Video type: YouTube     Hosted by: www.youtube.com on Tue, 30 Jun 2009 07:42:47 PDT

The GASLIGHT Anthems "American Slang" Acoustic on SIRIUS XM
The GASLIGHT Anthems "American Slang" Acoustic on SIRIUS XM

The GASLIGHT Anthems "American Slang" Acoustic on SIRIUS XM

Hear the Gaslight Anthem's Brian Fallon perform the band's "American Slang" acoustic on SiriusXM's Alt-Nation. For more ... Rated: 4.9579315     Duration: 237 seconds     Video type: YouTube     Hosted by: www.youtube.com on Tue, 01 Jun 2010 08:14:20 PDT

The GASLIGHT Anthem "Bring It On"
The GASLIGHT Anthem "Bring It On"

The GASLIGHT Anthem "Bring It On"

The official music video for "Bring It On" by The Gaslight Anthem. Directed by Kevin Slack. Rated: 4.9597588     Duration: 208 seconds     Video type: YouTube     Hosted by: www.youtube.com on Tue, 24 May 2011 18:10:39 PDT

Film Noir - The GASLIGHT Anthem (studio version)
Film Noir - The GASLIGHT Anthem (studio version)

Film Noir - The GASLIGHT Anthem (studio version)

Film Noir - The Gaslight Anthem (studio version) Rated: 4.8944955     Duration: 341 seconds     Video type: YouTube     Hosted by: www.youtube.com on Fri, 10 Jul 2009 18:28:28 PDT

Burial - GASLIGHT
Burial - GASLIGHT

Burial - GASLIGHT

Sample from promo mix Breezeblock - Kode9 Presents Burial 04.04.2006 Gaslight? im not sure Rated: 4.9137931     Duration: 141 seconds     Video type: YouTube     Hosted by: www.youtube.com on Sun, 21 Dec 2008 10:38:08 PST

The GASLIGHT Anthem "The 59 Sound (Performance Only Version)"
The GASLIGHT Anthem "The 59 Sound (Performance Only Version)"

The GASLIGHT Anthem "The 59 Sound (Performance Only Version)"

This is the unreleased version of the Gaslight Anthem's video for "The '59 Sound" that is performance only. Rated: 4.9568529     Duration: 204 seconds     Video type: YouTube     Hosted by: www.youtube.com on Thu, 11 Jun 2009 09:45:22 PDT

The GASLIGHT Anthem - Casanova, Baby
The GASLIGHT Anthem - Casanova, Baby

The GASLIGHT Anthem - Casanova, Baby

Casanova, Baby from the album The '59 Sound. Go buy it right now. It's that good. Rated: 4.95053     Duration: 178 seconds     Video type: YouTube     Hosted by: www.youtube.com on Fri, 05 Dec 2008 10:20:57 PST

The GASLIGHT Anthem - The 59 Sound
The GASLIGHT Anthem - The 59 Sound

The GASLIGHT Anthem - The 59 Sound

The Gaslight Anthem live at the Knitting Factory..."The '59 Sound" Due out August 19 Rated: 4.92515     Duration: 266 seconds     Video type: YouTube     Hosted by: www.youtube.com on Fri, 27 Jun 2008 13:47:25 PDT

The GASLIGHT Anthem "The 59 Sound (Performance Only Version)"
The GASLIGHT Anthem "The 59 Sound (Performance Only Version)"

The GASLIGHT Anthem "The 59 Sound (Performance Only Version)"

Duration: 204000 seconds Hosted by: YouTube

The GASLIGHT Anthems "American Slang" Acoustic on SIRIUS XM
The GASLIGHT Anthems "American Slang" Acoustic on SIRIUS XM

The GASLIGHT Anthems "American Slang" Acoustic on SIRIUS XM

Duration: 204000 seconds Hosted by: YouTubeHosted by: YouTube

The GASLIGHT Anthem - Blue Jeans & White T-Shirts (Live)
The GASLIGHT Anthem - Blue Jeans & White T-Shirts (Live)

The GASLIGHT Anthem - Blue Jeans & White T-Shirts (Live)

Duration: 195000 seconds Hosted by: YouTube

The GASLIGHT Anthem "Bring It On"
The GASLIGHT Anthem "Bring It On"

The GASLIGHT Anthem "Bring It On"

Duration: 195000 seconds Hosted by: YouTubeHosted by: YouTube

The GASLIGHT Anthem - Casanova, Baby! (Pinkpop 2009)
The GASLIGHT Anthem - Casanova, Baby! (Pinkpop 2009)

The GASLIGHT Anthem - Casanova, Baby! (Pinkpop 2009)

Duration: 200000 seconds Hosted by: YouTube

GASLIGHT Anthem ~ The 59 Sound
GASLIGHT Anthem ~ The 59 Sound

GASLIGHT Anthem ~ The 59 Sound

Duration: 194000 seconds Hosted by: YouTube

GASLIGHT Anthem - American Slang
GASLIGHT Anthem - American Slang

GASLIGHT Anthem - American Slang

Duration: 194000 seconds Hosted by: YouTubeHosted by: YouTube

The GASLIGHT Anthem - Even Cowgirls Get The Blues (Bonnaroo 2010)
The GASLIGHT Anthem - Even Cowgirls Get The Blues (Bonnaroo 2010)

The GASLIGHT Anthem - Even Cowgirls Get The Blues (Bonnaroo 2010)

Duration: 194000 seconds Hosted by: YouTubeHosted by: YouTubeHosted by: YouTube

GASLIGHT
GASLIGHT

GASLIGHT

Duration: 194000 seconds Hosted by: YouTubeHosted by: YouTubeHosted by: YouTubeHosted by: VIDEODetective

The GASLIGHT Anthem - Bring It On (Bonnaroo 2010)
The GASLIGHT Anthem - Bring It On (Bonnaroo 2010)

The GASLIGHT Anthem - Bring It On (Bonnaroo 2010)

Duration: 194000 seconds Hosted by: YouTubeHosted by: YouTubeHosted by: YouTubeHosted by: VIDEODetectiveHosted by: YouTube

The GASLIGHT Anthem - We Came To Dance (Bonnaroo 2010)
The GASLIGHT Anthem - We Came To Dance (Bonnaroo 2010)

The GASLIGHT Anthem - We Came To Dance (Bonnaroo 2010)

Duration: 194000 seconds Hosted by: YouTubeHosted by: YouTubeHosted by: YouTubeHosted by: VIDEODetectiveHosted by: YouTubeHosted by: YouTube

The GASLIGHT Anthem - Stay Lucky (Taubertal Festival 2010)
The GASLIGHT Anthem - Stay Lucky (Taubertal Festival 2010)

The GASLIGHT Anthem - Stay Lucky (Taubertal Festival 2010)

Duration: 194000 seconds Hosted by: YouTubeHosted by: YouTubeHosted by: YouTubeHosted by: VIDEODetectiveHosted by: YouTubeHosted by: YouTubeHosted by: YouTube

GASLIGHT Anthem & Springsteen - 59 Sound
GASLIGHT Anthem & Springsteen - 59 Sound

GASLIGHT Anthem & Springsteen - 59 Sound

Duration: 296000 seconds Hosted by: YouTube

The GASLIGHT Anthem - The 59 Sound - Glastonbury 2011
The GASLIGHT Anthem - The 59 Sound - Glastonbury 2011

The GASLIGHT Anthem - The 59 Sound - Glastonbury 2011

Duration: 296000 seconds Hosted by: YouTubeHosted by: YouTube

The GASLIGHT Anthem- Old White Lincoln (Acoustic)
The GASLIGHT Anthem- Old White Lincoln (Acoustic)

The GASLIGHT Anthem- Old White Lincoln (Acoustic)

Duration: 296000 seconds Hosted by: YouTubeHosted by: YouTubeHosted by: YouTube

The GASLIGHT Anthem - Walk The Line [Acoustic Cover]
The GASLIGHT Anthem - Walk The Line [Acoustic Cover]

The GASLIGHT Anthem - Walk The Line [Acoustic Cover]

Duration: 296000 seconds Hosted by: YouTubeHosted by: YouTubeHosted by: YouTubeHosted by: YouTube

The GASLIGHT Anthem -Songs For Teenagers
The GASLIGHT Anthem -Songs For Teenagers

The GASLIGHT Anthem -Songs For Teenagers

Duration: 296000 seconds Hosted by: YouTubeHosted by: YouTubeHosted by: YouTubeHosted by: YouTubeHosted by: YouTube

The GASLIGHT Anthem Glastonbury 2009 Full Set
The GASLIGHT Anthem Glastonbury 2009 Full Set

The GASLIGHT Anthem Glastonbury 2009 Full Set

Duration: 296000 seconds Hosted by: YouTubeHosted by: YouTubeHosted by: YouTubeHosted by: YouTubeHosted by: YouTubeHosted by: YouTube

The GASLIGHT Anthem - The Diamond Church Street Choir (Area 4 2010)
The GASLIGHT Anthem - The Diamond Church Street Choir (Area 4 2010)

The GASLIGHT Anthem - The Diamond Church Street Choir (Area 4 2010)

Duration: 296000 seconds Hosted by: YouTubeHosted by: YouTubeHosted by: YouTubeHosted by: YouTubeHosted by: YouTubeHosted by: YouTubeHosted by: YouTube

GASLIGHT
GASLIGHT

GASLIGHT

Duration: 296000 seconds Hosted by: YouTubeHosted by: YouTubeHosted by: YouTubeHosted by: YouTubeHosted by: YouTubeHosted by: YouTubeHosted by: YouTubeHosted by: VIDEODetective

The GASLIGHT Anthem - Old White Lincoln (Area 4 2010)
The GASLIGHT Anthem - Old White Lincoln (Area 4 2010)

The GASLIGHT Anthem - Old White Lincoln (Area 4 2010)

Duration: 296000 seconds Hosted by: YouTubeHosted by: YouTubeHosted by: YouTubeHosted by: YouTubeHosted by: YouTubeHosted by: YouTubeHosted by: YouTubeHosted by: VIDEODetectiveHosted by: YouTube

The GASLIGHT Anthem The 59 Sound
The GASLIGHT Anthem The 59 Sound

The GASLIGHT Anthem The 59 Sound

Duration: 296000 seconds Hosted by: YouTubeHosted by: YouTubeHosted by: YouTubeHosted by: YouTubeHosted by: YouTubeHosted by: YouTubeHosted by: YouTubeHosted by: VIDEODetectiveHosted by: YouTubeHosted by: MySpace

The GASLIGHT Anthem - Boxer (Live)
The GASLIGHT Anthem - Boxer (Live)

The GASLIGHT Anthem - Boxer (Live)

Duration: 296000 seconds Hosted by: YouTubeHosted by: YouTubeHosted by: YouTubeHosted by: YouTubeHosted by: YouTubeHosted by: YouTubeHosted by: YouTubeHosted by: VIDEODetectiveHosted by: YouTubeHosted by: MySpaceHosted by: YouTube

The GASLIGHT Anthem - American Slang (live @ Rock Am Ring 2011)
The GASLIGHT Anthem - American Slang (live @ Rock Am Ring 2011)

The GASLIGHT Anthem - American Slang (live @ Rock Am Ring 2011)

Duration: 296000 seconds Hosted by: YouTubeHosted by: YouTubeHosted by: YouTubeHosted by: YouTubeHosted by: YouTubeHosted by: YouTubeHosted by: YouTubeHosted by: VIDEODetectiveHosted by: YouTubeHosted by: MySpaceHosted by: YouTubeHosted by: YouTube

The GASLIGHT Anthem - "Drive"
The GASLIGHT Anthem - "Drive"

The GASLIGHT Anthem - "Drive"

Directed & Edited by Kevin Slack Camera by Kevin Slack & Joe Maziarski - www.youtube.com

The GASLIGHT Anthem [Bring It On]
The GASLIGHT Anthem [Bring It On]

The GASLIGHT Anthem [Bring It On]

The 3rd track from the new TGA album, American Slang! Lyrics coming soon! - www.youtube.com

Tropical Panama - La Chica Que Soñe
Tropical Panama - La Chica Que Soñe

Tropical Panama - La Chica Que Soñe

Tropical Panama La chica que soñe - www.youtube.com

The GASLIGHT Anthem-Once Upon A Time
The GASLIGHT Anthem-Once Upon A Time

The GASLIGHT Anthem-Once Upon A Time

A cover of Robert Bradleys Blackwater Surprises Once Upon A Time by The Gaslight Anthem. With lyrics :) - www.youtube.com

The GASLIGHT Anthem - 1. Baba ORiley - iTunes Session
The GASLIGHT Anthem - 1. Baba ORiley - iTunes Session

The GASLIGHT Anthem - 1. Baba ORiley - iTunes Session

A cover of Robert Bradleys Blackwater Surprises Once Upon A Time by The Gaslight Anthem. With lyrics :) - www.youtube.com - www.youtube.com

The GASLIGHT Anthem "Great Expectations"
The GASLIGHT Anthem "Great Expectations"

The GASLIGHT Anthem "Great Expectations"

An epic performance video from Jerseys favorite sons, the Gaslight Anthem. If you are confused by the setting, go pick up the classic novel by Charles Dicke... - www.youtube.com

Gaslight : Latest News, Information, Answers and Websites

ART REVIEW; What Photographers Saw After Sunset

In the beginning, there was light -- at least for photography. It wasnt until 1895, almost 60 years after the mediums invention, that an Englishman named Paul Martin began experimenting with taking photographs at night. Gaslights had illuminated London since the early 19th century. But it was the gelatin dry-plate process introduced in the late - By MARTHA SCHWENDENER

Does anyone know where I can download Old White Lincoln by the GASLIGHT Anthem for free?

Ive tried the obvious Limewire, but have had no luck.
Answer: well you just try it out here. www.jagmp3.com
Category: Rock and Pop

Four new food trucks join Buckhorn’s Fiesta

Keepin’ it Reel, Jimmy Meatball, Americanwiener and Bollywood Café will join the other six trucks at Lykes Gaslight Square Park in Downtown Tampa on Jan. 4. The Food Truck Fiesta began in November and added four trucks in December.

The GASLIGHT Theatre in Tucson Arizona| Welcome

This is the website for The Gaslight Theatre in Tucson Arizona.

Portsmouth Gas Light

The Portsmouth Gas Light is home to premier Seacoast nightclub, Third Floor Nightclub, with DJs and dance music every weekend. The Portsmouth Gas Light ...

GASLIGHT (1944) - Overview - TCM.com

Overview of Gaslight, 1944, directed by George Cukor, with Charles Boyer, Ingrid Bergman, Joseph Cotten, at Turner Classic Movies

Nicholas G. Bliss, Chicago trumpet player, dies

During the 1970s, key-holding members of Chicago’s private Gaslight Club would pass through a phone booth entrance to a Prohibition-style speakeasy, drink cocktails out of ceramic mugs and dance the night away to a five-piece Dixieland jazz ...

GASLIGHT (1944)

Gaslight (1944) (aka The Murder in Thornton Square) is a superb, definitive psychological suspense thriller from womans director George Cukor.

6513 North GASLIGHT Ln Mobile AL 36695 MLS# 233926

6513 North Gaslight Ln, Mobile, Al 36695 - MLS# 233926 - 4 Bedroom(s) 2 Full Bath home for sale in Carriage Hills (mobile) - Carpet replaced in 2011,...

Hot Reggae Sensation Mighty Mystic Performed in Portsmouth, New Hampshire

Reggae sensation Mighty Mystic makes noise in Portsmouth, New Hampshire December 29th upstairs at The Portsmouth Gaslight Company ending their events of 2011 with a high note. Mystic who ended a major show at the Paradise Rock Club in Boston, later made a ...

The GASLIGHT Theatre

Christmas in the Big Apple continues through Sunday, Jan. 1. Showtimes are at 3, 6 and 8:30 p.m., Monday through Friday, through Friday, Dec. 30; noon, 3, 6 and 8:30 p.m., Saturday; noon, 3 and 7 p.m., Sunday; closed Sunday, Dec. 25; 3, 6 and 9:30 p.m ...

GASLIGHT | We sight trends!

Rican Denar Cedi Saudi Bloomberg Press Rupee Dollar Omani Pound Euro () Sol Libyan Franc Kina Franc Cross (TRY) Gaslight French Ariary (MVR) (THO) Dollar Rial Chad Peseta & Pound Malawian Czech Dinar (MMK) ...

GASLIGHT (1944) - IMDb

Director: George Cukor. . Actors: Charles Boyer: Gregory Anton · Ingrid Bergman: Paula Alquist · Joseph Cotten: Brian Cameron · Dame May Whitty: Miss Thwaites ...

GASLIGHT Theatre season tickets available

The Gaslight Theatre, Shiners historic opera house, is marking its 117th birthday with the opening of the 2012 season. As one of Texas last operating opera houses, there have been continuous productions since the resurrection of the theatre in ...

GASLIGHT | Point of Insight

Uploaded Gaslight clydeman on Sep 12, 2006 Live from 1971. Neil digs around in his pockets trying to find the right harp and then plays a new song…Heart of Gold. Category: Music Tags: Neil Young Heart Gold music rock ...

Meet Chef Jonathan Da Rocha from GASLIGHT Restaurant | theboken ...

Several blocks off Washington Street is the neighborhood spot, Gaslight, probably best known for its incredible Sunday brunch and solid bar menu. However, what most people don't know is the restaurant not only offers a ...

GASLIGHTing - Wikipedia, the free encyclopedia

Gaslighting. From Wikipedia, the free encyclopedia. Jump to: navigation, search. For other uses, see Gas lighting and Gaslight (disambiguation). Gaslighting is a ...

MUSIC REVIEW; Band Kicks Up a Sweat Storm Onstage

Need housing for the night: six men, either shirtless and moist or sweating through their shirts; carrying instruments, some of them large; unlikely to stay still for long periods of time. In all seriousness, we aint got no place to stay tonight, so came the plea from a member of Larry and His Flask, about midway through its maelstrom of a - By JON CARAMANICA

CAMILLE GAVIN: Meet the Prince of the melodrama

"I love telling stories and I love that endorphin rush you get when youre working with creative people," says Prince, who is embarking on his seventh year as the artistic director of the Gaslight Melodrama Theatre & Music Hall, and has ...

TV tonight: new ‘Modern Family,’ ‘Hot in Cleveland’ Angela Lansbury is TCM’s Star of the Month

TCM salutes her as the Star of the Month for January. Her movies will play on Wednesdays. First up at 8 o’clock is her debut in “Gaslight,” the 1944 thriller that brought her a supporting actress Oscar nomination. “National Velvet,” the movie ...

Does anyone know where i can get/buy (or just view) a Copy of the original script of GASLIGHT?

I need to find a copy of the script Gaslight by patrick hamilton have been looking everywhere but cannot find it, it would be handy to read through and then purchase it. Many thanks
Answer: Here is something: http://www.amazon.com/s/ref=nb_sb_noss?url=search-alias%3Dstripbooks&field-keywords=Gaslight+by+patrick+hamilton&x=12&y=23
Category: Theater & Acting

GASLIGHT (1944) | Classics Vintage

Descripción: Gaslight (1944). Luz que agoniza 996155153 large Gaslight (1944) Runtime: 114 min. Language: English Country: USA Color: Black and White IMDb Link: http://imdb.com/title/tt0036855/. Director: George Cukor Cast: Charles ...

How many miles do you get till stall, once the GASLIGHT comes on?

How much does your car get after that gas light comes on until it runs out and stalls, assuming you slow down and turn off the ac/roll up windows. And its all highway driving.
Answer: well it depends on the kind of car you get. on my Hyundai i get about 30 miles till i completely out of gas. but with bigger cars it is much less
Category: Maintenance & Repairs

GASLIGHT Grimoire: Fantastic Tales of Sherlock Holmes

A broad range of new and original stories built around Sir Arthur Conan Doyle’s LOST WORLD character Professor George Edward Challenger. Stories derived from the ...

The Listings

Pop Prices may not reflect ticketing service charges. Full reviews of recent concerts: nytimes.com/music. - ... And You Will Know Us by the Trail of Dead (Friday) This alt-rock outfit from Austin, Tex. (its just Trail of Dead to those in the know), began in the late 1990s, churning out a stream of dark, spindly alt-rock that reached its apex in

Any views on GASLIGHT anthem generally and at Glastonbury specifically?


Answer: I love The Gaslight Anthem, Brian Fallon's voice is extremely unique and they know how to write a good up-beat tune. Have you listened to Fallon's solo music? Give it a try if you haven't. I don't know much about their glastonbury appearance though.
Category: Rock and Pop

The GASLIGHT Anthem : The GASLIGHT Anthems Official Web Site

The Gaslight Anthems Official Web Site ... Gaslight has recorded a cover or Bob Dylan’s Changing Of The Guards for the forthcoming Amnesty Internation compilation ...

Angela Lansbury month on TCM starts tonight

“I’m really not.” Well, I guess am. I am looking forward to once again watching her American movie debut as a saucy maid  in1944′s “Gaslight” tonight (Jan. 4) and her chilling portrayal of one of movie history’s most manipulative ...

GASLIGHT, GASLIGHT related news, GASLIGHT related blogs, GASLIGHT ...

From www.dory-funk.com - In a Gaslight Square Shootfight, David Vaughn and Chris Hargas fight it out to see who is Toughest Fighter in Gaslight Square (St. Louis)

Im curious about what you guys think about the GASLIGHT Anthem?

I really like them and do feel like they will be BIG, does anyone else? Whats your favorite song?
Answer: i absolutly love them. they give me the chills. sadly i doubt they will become big though, even though i belive they deserve to be. make sure you get their sink or swim album and senor and the queen ep if you dont already.
Category: Rock and Pop

Rock in 2011: Hot Chelle Rae, Foster the People, Chevelle

Every week since the end of May the band Sublime With Rome has had at least one song, sometimes two, on Billboard’s Rock Songs chart or its Hot Modern Rock Tracks chart, often both. The most successful have been “Panic” and “Take It or Leave It,” both true to the band’s mission to reincarnate the band Sublime, - By JON CARAMANICA

GASLIGHT: Information from Answers.com

Plot Ingrid Bergman won her first of three Oscars for this suspense thriller, crafted with surprising tautness by normally genteel "womens picture" director George ...

GASLIGHT | Adol's CinematoBlogoWebboScreed

As I mentioned before, the term 'Gaslighting' is taken from this film's plot of a husband attempting through trickery and deceptive practice to convince his wife that she is insane. It is a well-handled psychological thriller, even ...

What are some bands like "the used" "the GASLIGHT anthem" and "my chemical romance"?

Just looking for some new music. Thanks aha :)
Answer: The new guns'roses album, Sasha Raskin, Jane's addiction
Category: Rock and Pop

BITSOLIS BIBLIO FILES BLOG: Review of Ghosts by GASLIGHT

Yes, it’s another post on semi-steampunkery. I apologize. But this blog is meant to be my thoughts on books, and the books I’m thinking of and am qualified to comment upon are those I’m reading. I refuse to read Charlaine Harris or Stephen ...

GREENWOOD HEIGHTS JOURNAL; Catering Halls Plan For a Hotel Upsets The Neighbors

Grand Prospect Hall has long held an affectionate spot in Brooklyns heart, starting in the Gaslight era of the 1890s when Brooklyn society ventured out of their elegant Park Slope brownstones to attend operas or other entertainment in the halls gilded auditorium. In later generations, the hall was a vaudeville palace, a fraternal clubhouse, even - By JOSEPH BERGER

TELEVISION REVIEW | CINEMA VERITE; The First Airing of Dirty Laundry

In 1973, when PBS broadcast An American Family, that documentary series about the Loud family of Santa Barbara, Calif., seemed like television engagé: a camera-armed rebellion against the scripted contrivances of canned and conventional television. So its telling -- almost a signal of surrender -- that Cinema Verite, an HBO movie about - By ALESSANDRA STANLEY

Who here likes the GASLIGHT anthem?

Who here likes the Gaslight Anthem? I believe they are the best rocknroll band to come around in recent times. They have soul and conviction in their music which is hard to find these days. If you have yet to discover them I highly recommend that you check them out.
Answer: The Gaslight Anthem are a great band. There are a lot of bands/musicians around lately that, although their music sounds good, doesn't have the soul behind it - soul is hard to find! But I really think TGA have it. If you haven't already, I really recommend you check them out live. I've only seen them the once last year, and it was actually completely by accident, and ended up falling head over heels with their music. Really down to earth group of guys, too.
Category: Polls & Surveys

GASLIGHT Brasserie - French Restaurant in South End Boston |

Dining in Bostons South End, Gaslight Brasserie Restaurant offers high quality affordable french dining. Outdoor Seating & serving Brunch, Lunch and Dinner, Awarded ...

What is the meaning of the song when we were young by the GASLIGHT anthem?

Love this song, but what is it about?
Answer: We did it when we were young... Most of TGA's music is spawned of life, coming of age, loss etc. true, reality rock. Think Bruce Springsteen certainly a major influence on the band. Honestly I dont know exactly what its about by I would assume its about hardship and life.
Category: Lyrics

GASLIGHTing - Wikipedia, the free encyclopedia

Gaslighting is a form of psychological abuse in which false information is presented with the intent of making a victim doubt his or her own memory and perception.

Gil Robbins, 80, Singer With Highwaymen

Gil Robbins, a singer, guitarist and songwriter with the folk group the Highwaymen and a fixture on the folk-music scene, died on Tuesday at his home in Esteban Cantú, Mexico. He was 80. The cause was prostate cancer, his wife, Mary, said. Mr. Robbins, who was a singer and bass guitarist with the Cumberland Three and the Belafonte Singers and a - By WILLIAM GRIMES

New Years Eve In NYC @ GASLIGHT & G2!

Until New Years Eve At Gaslignt! Dont Be Left Outside - Get Your Tickets Early Now! Discounted Tickets For Early Birds Click Here To Purchase Your Tickets Before The ...

Whats On Tonight?

We usually just nod and back away slowly. Gaslight (TCM, 8 p.m.): Curious why, exactly, “to Gaslight” has become a verb this TV season, out of nowhere? Well, you can check out this enjoyably Gothic psychological thriller to get something of an idea.

Does anyone recall the "GASLIGHT" service of Mohawk Airlines?

As a small boy in the 1950s, trips to the nearby airport were frequent. Mohawk Airlines utilized DC-3s for "Gaslight" flights. I believe only male passengers could board these special flights. Is this the case? I grew up in Rochester, N.Y.
Answer: I remember Mohawk turner into Alagany into Piedmont my dad flew DC,s in the 50s and 60s. we often went out onto the runway to meet him. good old daze!
Category: Aircraft

Bands that have the same sort of sound as GASLIGHT ANTHEM?

recently I have fallen in LOVE with The Gaslight Anthem, listen to them tons - never skip a song, love their sound, cant get enough of them really...anybody know any other bands that have a similar sound?
Answer: check out newer bouncing souls albums,
Category: Rock and Pop

The GASLIGHT Anthem @ Metro Theatre, Sydney (28/2/11) on ...

The Gaslight Anthem played a lengthy, entertaining set, delving into each of their records extensively, catering to new and old fans.

GASLIGHT (1944 film) - Wikipedia, the free encyclopedia

Gaslight is a 1944 mystery- thriller film adapted from Patrick Hamiltons play, Gas Light, performed as Angel Street on Broadway in 1941. It was the second version to ...

Watch GASLIGHT Online - Zap2it

Where to watch Gaslight Movie 1944 on TV ... Release Year: 1944 MPAA Rating: NR Genre: Thriller Director: George Cukor. After the death of her famous opera-singing ...

DESIGN NOTEBOOK; The Paint Doctor Is In

IT begins simply enough. The living room needs a new coat of paint, perhaps a fresh start for both of you. But what about something different this time? No more off-white. Maybe a color that is bold and creative, but also educated, witty and ironic. Theres the high-style and pricey route, like that English company, Farrow & Ball, and its Evelyn - By PENELOPE GREEN

The GASLIGHT Anthem : The GASLIGHT Anthem's Official Web Site

Gaslight has recorded a cover or Bob Dylan's Changing Of The Guards for the forthcoming Amnesty Internation compilation “Chimes Of Freedom: The Songs Of ...

BOOKS OF THE TIMES; Battle Scars Napoleonic and Domestic

TIDES OF WAR By Stella Tillyard 353 pages. Henry Holt & Company. $27. For writers and readers of historical fiction the Napoleonic wars have been a godsend, inspiring not just the odd novel but battalions and flotillas of books. There is Bernard Cornwells multivolume series about Richard Sharpe, the British soldier who works his way up the ranks, - Charles McGrath reviews book Tides of War by Stella Tillyard. Photo (M)2 - By CHARLES McGRATH

Whos read the GASLIGHT Mystery series by Victoria Thompson?

I really enjoy these books and would like to discuss them with others who have read them.
Answer: Love them.
Category: Books & Authors

What are some good ways to GASLIGHT someone?

So far Ive come up with: Creating odd and unexplained smells, replacing light bulbs with a different wattage, replacing leftovers in the fridge, and moving furniture.
Answer: *sigh* Replace their personal items (i.e. toothpaste, shampoo, ect) with a different name brand, but make sure items are partially used that are being left. Add random articles of clothes to their closets, drawers, and so on. Rearranging furniture is good, but even small things such as pictures and knick-knacks being rearranged are even better since it is just tiny things that will get noticed.
Category: Psychology

Citilites Theatre artistic director steps down

But the general feeling is to go ahead. We want to keep the company viable." Citilites usually performs at the Gaslight Theater. Its next production, "The Boys in the Band," is slated for spring, with auditions later this month. Hunsaker had been ...

Sometimes a cigar galaxy is just a cigar galaxy

While stars put out this kind of light as well, these filters downplay starlight and crank up the volume on, um, Gaslight. Specifically, blue and green are from oxygen, red is from sulfur, and teal is hydrogen. The dark material is dust ...

Jtown crushes Tates Creek in GASLIGHT Holiday Classic

Jeffersontown finished the first quarter with a flurry, kept visiting Tates Creek on its heels most of the night and rolled to an 80-48 thumping Thursday night in the finals of the Gaslight Holiday Classic. “It’s one of the better games we ...

Eager to use fireworks? Make sure theyre legal

Guests can go back and forth from the Old Towne Glendale Wine and Beer Bar to the Gaslight Inn all night. Delphine Cortez and Joel Robin & Friends provide jazz music, and Haus Murphys serves German fare. Theres an optional wine tasting from 5 ...

GASLIGHT Brasserie - French Restaurant in South End Boston |

Dining in Boston's South End, Gaslight Brasserie Restaurant offers high quality affordable french dining. Outdoor Seating & serving Brunch, Lunch and Dinner, ...

Tell me one reason why someone might want to GASLIGHT another person?

Gaslighting means using psychological abuse to make a person think that she/he is going insane when they are not. It involves the abuser denying the reality that the victim is experiencing and making them second guess themself. Yes, for control, but what event would make someone snap and commit this criminal behavior?
Answer: Back when that movie was made, if somebody was found to be insane you could have them committed and have access to all their money.
Category: Psychology

CALENDAR; CONNECTICUT

A guide to cultural and recreational goings-on in Connecticut this week. Items for the guide should be sent at least three weeks in advance to ctcal@nytimes.com, or by mail to the Connecticut Calendar, Metropolitan, 620 Eighth Avenue, New York, N.Y. 10018-1405. Comedy MASHANTUCKET Comix at Foxwoods Rob Riggle. Thursday through March 19. $25 to $45.

how Joe Strummer is related to The GASLIGHT Anthem?

I saw messages like "R.I.P Joe Strummer, music is once more well represented." is he lead singer or something?
Answer: The late Joe Strummer was the frontman for The Clash which is one of The Gaslight Anthem's influences. Joe Strummer has often been spoken about and referenced by lead singer Brian Fallon and the song "I'da Called You Woody, Joe," is a tribute to the legendary Clash frontman. Fallon has a tattoo of Strummer.
Category: Rock and Pop

Is the GASLIGHT Cafe in Greenwich Village still there?

I know that it closed ages ago, but is it still there? If it isnt, what is it now? Does it still say "The Gaslight Cafe" but is just something different now like the Cafe Wha? (which is now a comedy club I believe)? Thanks!
Answer: No, it's totally gone. It was at 116 MacDougal Street, which is now a tattoo parlor. The first link below is to a picture of the building today, but you have to give the page a few seconds to load in order to see it, so be patient and all will be revealed. Good luck!... :-D
Category: New York City

Bomb squad removes object from Lawrence woman’s deck

Sgt. Matt Sarna, a police spokesman, said the woman who lives at Gaslight Village Mobile Home Park, 1900 W. 31st St., called police about 7:30 a.m. Saturday when she found the object. Sarna said officers arrived and then called in the bomb squad ...

Amazon.com: GASLIGHT: Charles Boyer, Ingrid Bergman, Joseph Cotten ...

George Cukor helped transform a moody Victorian stage melodrama (previously filmed in Britain in 1939) into a gothic Hollywood romantic thriller. Ingrid Bergman stars ...

Just a Cineast: Angela Lansbury in GASLIGHT

What I hadn't noticed before is that I've apparently never included a photo of Lansbury to accompany any of the posts I've done; certainly not one of Lansubry in Gaslight. So, I rather shamelessly found a photo from the blog ...

GASLIGHT LOUNGE | G2 LOUNGE

LOADING. 61. LOADING Gaslight LOUNGE / G2 LOUNGE ... Gaslight / The Bar. loading 0 kb of 0 kb ... G2 AND Gaslight REVIEWS. GREAT. PLACE ...

GASLIGHT Bar + Grille

BOOK YOUR PARTY WITH US! Call Mike to reserve your date and package; NOW SERVING BRUNCH Gaslight has a brunch menu until 2pm on Saturdays and Sundays but don’t ...

GASLIGHT (1944) - IMDb

Directed by George Cukor. With Charles Boyer, Ingrid Bergman, Joseph Cotten, Dame May Whitty. Years after her aunt was murdered in her home, a young ...

The GASLIGHT Anthem | Free Music, Tour Dates, Photos, Videos

The Gaslight Anthem's official profile including the latest music, albums, songs, music videos and more updates.

What were the opening bands for GASLIGHT anthem at the koolhaus in Toronto on Tuesday October 13th?

What were the opening bands for band "Gaslight anthem" at the koolhaus concert hall in Toronto Ontario Canada, on Tuesday October 13th?
Answer: Either Murder By Death, Broadway Calls, or Jesse Malin. The Gaslight Anthem rules.
Category: Rock and Pop

Feed Me Wrestling: GASLIGHT Square Shoot Fight - David Vaughn vs ...

In a Gaslight Square Shootfight, David Vaughn and Chris Hargas fight it out to see who is Toughest Fighter in Gaslight Square (St. Louis). Category: BANG, BANG TV · Previous ›› Today's Videos ...

Blitzen Trapper, The GASLIGHT Anthem and Tom Petty

Our takes on recent records and reprises of Blitzen Trapper, The Gaslight Anthem and Tom Petty

<b>Gaslight</b> on TCM <3Gaslight on TCM <3
From: HeyitsShar - Source: TweetDeck

WATCH: Bruce Springsteen Joins <b>Gaslight</b> Anthem for "American Slang" http://t.co/MFEckafGWATCH: Bruce Springsteen Joins Gaslight Anthem for "American Slang" http://t.co/MFEckafG
From: CarrollApril - Source: twitterfeed

#<b>Gaslight</b> Bomb squad removes object from Lawrence womans deck http://t.co/GqbvYhbY#Gaslight Bomb squad removes object from Lawrence womans deck http://t.co/GqbvYhbY
From: Five1_Five050 - Source: Mobile Web

<b>Gaslight</b> | We sight trends! http://t.co/qFsY8HvYGaslight | We sight trends! http://t.co/qFsY8HvY
From: Ceceliamr21 - Source: twitterfeed

Dance with me – with mommy v by Regine Velasquez in Regine Duets @ http://t.co/z6O6bypw #<b>Gaslight</b>Dance with me – with mommy v by Regine Velasquez in Regine Duets @ http://t.co/z6O6bypw #Gaslight
From: awitinmusic - Source: Awitin Pinoy Music Tweeter

Jtown crushes Tates Creek in <b>Gaslight</b> Holiday Classic http://t.co/GHOsD0FZJtown crushes Tates Creek in Gaslight Holiday Classic http://t.co/GHOsD0FZ
From: ThelmaBoyd - Source: twitterfeed

Fresh iPhone Apps for Dec. 12: Sundew, Wenzani, Time Ducks, <b>Gaslight</b> http://t.co/aAfnf9RoFresh iPhone Apps for Dec. 12: Sundew, Wenzani, Time Ducks, Gaslight http://t.co/aAfnf9Ro
From: Bush_Jamie - Source: twitterfeed

<b>Gaslight</b> Theatre season tickets available http://t.co/eeR3ReZiGaslight Theatre season tickets available http://t.co/eeR3ReZi
From: Kelley_Debbie - Source: twitterfeed

Join Model and Author Isobella Jade at <b>Gaslight</b> Lounge to Celebrate Her New Book http://t.co/SOxrg71CJoin Model and Author Isobella Jade at Gaslight Lounge to Celebrate Her New Book http://t.co/SOxrg71C
From: Garrett_Sam - Source: twitterfeed

WATCH: Bruce Springsteen Joins <b>Gaslight</b> Anthem for "American Slang" http://t.co/yjrLdRa9WATCH: Bruce Springsteen Joins Gaslight Anthem for "American Slang" http://t.co/yjrLdRa9
From: Sutton_Edward - Source: twitterfeed

Titus Andronicus, <b>Gaslight</b> Anthem, Mumford & Sons, and Street Dogs are the only bands Ive been listening to the past 3 days #hookedTitus Andronicus, Gaslight Anthem, Mumford & Sons, and Street Dogs are the only bands Ive been listening to the past 3 days #hooked
From: CorbinWoodruff - Source: web

The <b>Gaslight</b> Jingle #LessAmbitiousBandsThe Gaslight Jingle #LessAmbitiousBands
From: M_Gibbo - Source: Twitter for iPhone

Bruce Springsteen Joins <b>Gaslight</b> Anthem Onstage http://t.co/bvHlSTm2Bruce Springsteen Joins Gaslight Anthem Onstage http://t.co/bvHlSTm2
From: TammyWatson3 - Source: twitterfeed

http://t.co/7T7wyzjP ;P <b>Gaslight</b> Meet Chef Jonathan Da Rocha from <b>Gaslight</b> Restauranthttp://t.co/7T7wyzjP ;P Gaslight Meet Chef Jonathan Da Rocha from Gaslight Restaurant
From: VideonautTV - Source: web

Bruce Springsteen joins The <b>Gaslight</b> Anthem for a song Friday night at ... - The Star-Ledger http://t.co/YTBzpSA4Bruce Springsteen joins The Gaslight Anthem for a song Friday night at ... - The Star-Ledger http://t.co/YTBzpSA4
From: Elaine_Holland - Source: twitterfeed




DISCLAIMER:
The data displayed here is user-generated. We do not host any media files (video, audio or images) on our servers. We aggregate and link / embed publicly available content from other sites on the Internet. We are not responsible for the accuracy, authenticity, compliance, copyright, legality, decency, or any other aspect of the content of other sites referenced here. If you have any legal / copyright issues or want to submit a correction, please drop a comment below and we will look into it promptly.

PRIVACY POLICY:
We value your privacy! We do not sell, rent, loan, trade, or lease any personal information collected at our site, including visit patterns, demographic details, contact forms, download requests or email lists. We analyze the web-site logs to improve the value of the materials available on it. These web-site logs are *NOT* personally identifiable, and we make no attempt to link them with the individuals that actually browse the site.

Related Posts Plugin for WordPress, Blogger...

 
All images and videos displayed here are property of their respective owners.